로고

계측기 전문업체..티앤씨
로그인 회원가입
  • 제품소개
  • KEYCOM
  • 제품소개

    홈페이지를 방문해주셔서 감사합니다.

    KEYCOM Products

    Millimeter wave & Microwave Components / Devices Model No. XMM

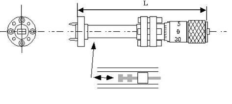
    Tunable Short (Metal Waveguide)

    Model No. MWG11


    MWG11 is a tunable short for rectangular a waveguide. Its contactless short plane eliminates the instability caused by a contact failure.

    Model No.

    External view